Kopplaat op CW40
Breekhamers (1-10T) - Kopplaten
Wij produceren geboute kopplaten op de Verachtert CW40 ophaging voor alle attachments binnen ons gamma, geschikt voor machines tussen de 20 tot 30 ton.
Daarnaast bieden we ook maatwerkoplossingen en kunnen we een kopplaat ontwikkelen die perfect afgestemd is op uw specifieke tool.
Deze ophanging is beschikbaar in 2 modellen:
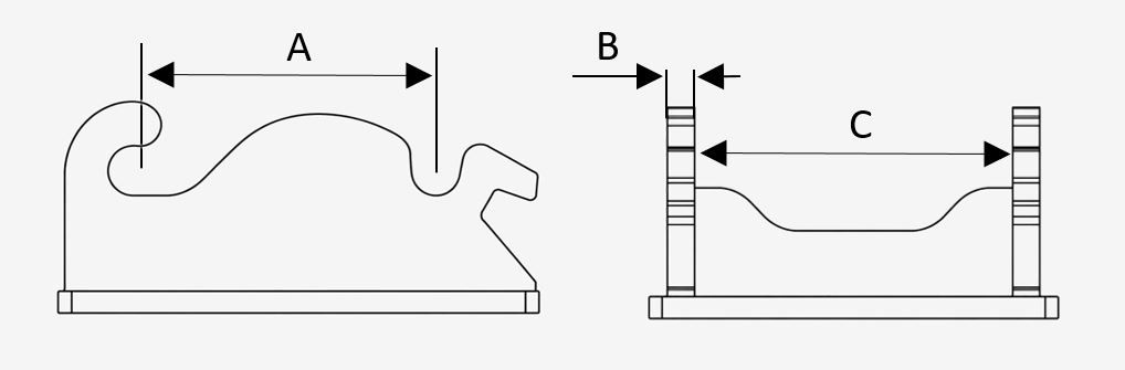
- CW40 Standaard:
| Materiaal: | HARDOX 450 |
| Steek / hartafstand (A): | 475mm |
| Dikte (B): | 40mm |
| Afstand tussen de 2 adapterhaken (C): | 560mm |
- CW40 Omkeerbaar (TWIN):
Hiermee heeft u de mogelijkheid om de attachments om te keren aan uw snelwissel
| Materiaal: | HARDOX 450 |
| Steek / hartafstand (A): | 475mm |
| Dikte (B): | 40mm |
| Afstand tussen de 2 adapterhaken (C): | 560mm |
| Steek / hartafstand (D): | 475mm |
De foto's voorzien in dit document zijn enkel ter indicatie en kunnen wijzigen naargelang de configuratie. Er kunnen geen rechten aan worden ontleend.
